UPS電池、EPS電源、直流屏電池等為武漢索瑞德電子有限公司主營產品,歡迎咨詢!

產品闡述:
SVC-H(豪華型)系列高精度全自動交流穩壓器是SVC系列交流穩壓器的革新型產品之一。秉承了SVC產品優良性質更具有外形精美,內在保護性質強,本穩壓器還設有過壓保護及欠壓保護,延時選擇等功能,本穩壓器是一種經濟完美,性價比高的穩壓器產品。
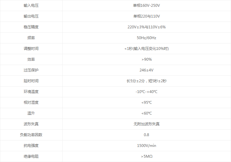
主要技術參數:

型號規格:

武漢索瑞德電子有限公司
主營直流電源、電力電源、蓄電池、UPS電池、EPS電源、直流屏電池、UPS電源等
地址:武漢市武昌區武珞路460號聚豪大廈14層
電話:027-87261033-8001
傳真:027-87261033-8006

鄂公網安備 42010602003126號

